预警比对的指标越来越多,财务每天受到的惊吓也越来越频繁,以纳税人申报数据、开票数据、报表数据为依据,以现行税收政策和各税种关联关系为规则,通过智能化的征管系统筛选疑点,推送预警信息,提请纳税人自查,这可能是智慧税务时代税务精准监管的新模式。
这几天,又有纳税人(北京市)收到了这个预警信息:
事项名称:企业佣金支出未足额申报
事项内容:经税务机关数据分析比对,近期你单位存在企业所得税异常情况,涉及异常项目1项/次,发票87份,发票金额94711.94元。请你单位及时自查核实,核实结果请在30日内通过电子税务局反馈。
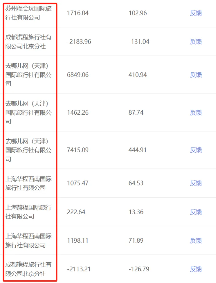
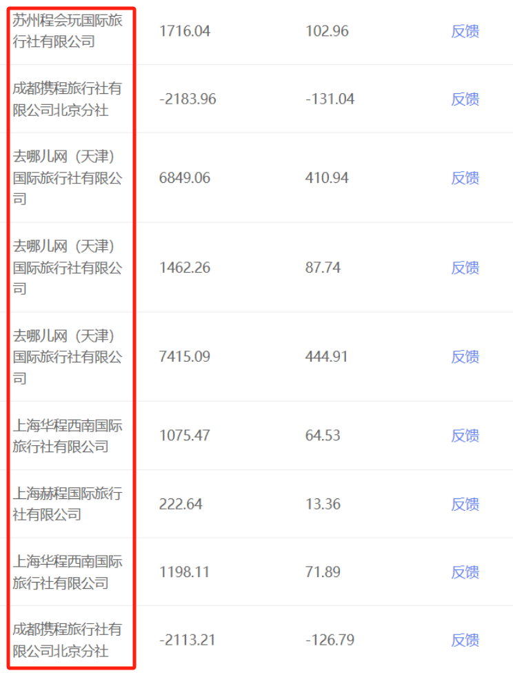
经核实,87份发票均为纳税人员工出差通过携程、去哪儿网等代订的机票,发票品目显示*经纪代理服务*机票款,已经全部入账计入管理费用—差旅费,且已在企业所得税前扣除。
为什么会有这个预警?这是因为企业所得税上佣金支出有扣除比例的规定,汇缴申报时必须填报A105000表第23栏“ (十一)佣金和手续费支出(保险企业填写A105060)”,并做相应的纳税调整。
对绝大多数企业而言,企业佣金支出适用的文件是财税〔2009〕29号,该文第二条第二款规定,除保险企业以外的其他企业:按与具有合法经营资格中介服务机构或个人(不含交易双方及其雇员、代理人和代表人等)所签订服务协议或合同确认的收入金额的5%计算限额。
增值税方面,佣金支出对应的税目通常是“经纪代理服务”,比如建筑企业的居间费,发票品目应当显示*经纪代理服务*居间费。但是,并不代表所有的“经纪代理服务”编码简称的发票都应当计入佣金支出,比如下面这张通过旅行社代订的机票,就应当计入差旅费:
我们也可以理解,所谓的系统比对,只能类似于漫天撒网,不可能做到绝对的精准,所以,企业遇到这种比对预警,要知道为什么会有预警,然后再根据相应的政策和企业实际情况去科学应对。
企业可以对疑点发票信息逐张明细反馈:
也可以将所有的发票汇总反馈:






